dadblk3 madblk3
adblk3
adblk3
科技
出版:2024-Mar-15 12:04
更新:2024-Mar-15 12:04

iPhone|Apple申請手機側屏專利 MacBook Touch Bar有望復活?

分享:
蘋果已申請專利,有機會將類似MacBook Touch Bar的側屏用在未來 iPhone 型號。

蘋果已申請專利,有機會將類似MacBook Touch Bar的側屏用在未來 iPhone 型號。

adblk4

自2017年面世的 iPhone X,Apple近年推出的 iPhone 系列也保留相似外型,只加入少量改動如動作按鈕及動態島等,不過蘋果在專利申請揭露,未來的設計很可能有重大變化。

Apple iPhone|未來的手機旁邊將有機會設有迷你控制顯示屏。 Apple iPhone|MacBook Touch Bar 於 2016 年推出,最後出現於 2020 年版本的 MacBook Pro。

Apple iPhone|Touch Bar技術重現

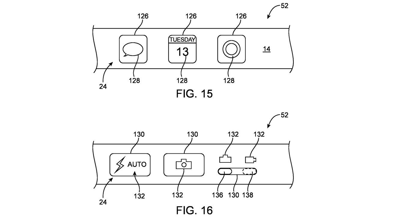
根據網站 AppleInsider 提出,蘋果已獲得一項專利技術,該技術可以將一個側置的顯示屏引入未來的 iPhone。從專利申請中的插圖可見,這個顯示屏類似早年於 MacBook Pro 出現的 MacBook Touch Bar。
 

Apple iPhone|圖中所見側置的顯示屏將與主屏幕分開,為一個獨立的控制介面。(圖片來源:United States Patent and Trademark Office) Apple iPhone|

Apple iPhone|可作顯示控制介面

這個側置顯示屏位於 iPhone 的音量或電源按鈕下方,而且是一個獨立的小型顯示屏,與主屏幕分開。推測這個側置顯示屏可用作介面,能顯示狀態信息、控制音樂選擇和啟動應用程式,用法就如另一個動態島,亦可能會取代某些實體按鍵。

adblk5

傳聞蘋果已計劃在 iPhone 16 上將 iPhone 15 Pro 的電容式動作按鈕更換為機械按鈕,因此側置顯示屏可能會在下一階段實行。

消息來源:www.techradar.com

ADVERTISEMENT

立即更新 /下載AM730手機APP 體驗升級功能

ad

恭喜你!獲取1分 !

更多積分任務